Snelle Levering

Snel contact

Top kwaliteit

Altijd op zoek naar een alternatief







                

Angebote

Vind de juiste onderdelen voor uw auto.

NL

VIN/Chassisnummer

Of

1
2
3

Er is geen voertuig geselecteerd. Dit onderdeel is mogelijk niet compatibel met uw voertuig.

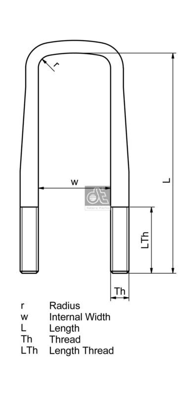
Veerklem

Productnummer: 366.107
ART: 366.107 / EAN: 04047755851200


Fabrikant Productnummer
MAN 06.46119.0040 , 06461190040
MAN 81.41312.0021 , 81413120021
MAN 81.41312.0212 , 81413120212
Usage nummers
Fabrikant Model Versie Motorcode Uitvoering Bouwjaar start Bouwjaar eind Pk Power kw
 MAN

Heeft u vragen over dit product? Neem gerust contact met ons op.

DT Spare Parts

Contactgegevens van het merk

Bestanden

Er zijn geen bestanden om te downloaden.

4.5 / 5 (20 reviews)
Onze klanten zijn erg tevreden met ons.
''Personeel zeer vriendelijk en behulpzaam. Ziet je nog als mens en niet als een nummer. Als twee vrouwen in een toch wel mannenwereld met respect behandeld. Super fijn mannen!!!''
Bekijk reviews

FAQ


© 2025 Gebr. Opdam BV.nl - Alle rechten voorbehouden.